老左对于Pia主机商也有接触过几年,在之前的文章中也有介绍过他们的活动信息。这个服务商的产品给我的印象就是紧贴用户需求,提供CN2优化方案云主机产品,比如在当前主推的是香港三网优化线路VPS,根据官方的介绍是CN2 GIA/CUG/CMI线路。其次就是价格比较吸引人,加上这次的五周年活动,有低至优惠后起步11.9元,这个价格对于香港VPS,以及优化线路的产品还是有亮点的。

当前的活动是从3月27日开始的。需要使用到优惠券。
五周年七折优惠券:Pia5year
| 型号 | CPU | 内存 | 带宽 | 硬盘 | 价格 | 购买 |
|---|---|---|---|---|---|---|
| A型 | 1核 | 2G | 5M | 40G | ¥17.00 | 立即购买 |
| B型 | 2核 | 2G | 10M | 40G | ¥35.00 | 立即购买 |
| C型 | 2核 | 4G | 10M | 80G | ¥60.00 | 立即购买 |
| D型 | 4核 | 4G | 15M | 100G | ¥80.00 | 立即购买 |
| E型 | 4核 | 8G | 15M | 100G | ¥120.00 | 立即购买 |
| F型 | 8核 | 16G | 15M | 140G | ¥220.00 | 立即购买 |
这是原价,我们可以使用优惠券后折扣。
在这里,我们详细的对于这台香港VPS测试,我们先测试本地电信节点的PING测试。

我们先本地的PING测试,可以看到速度还是比较快的。我这里本地是电信网络。然后我们再测试电信去程。

电信去程走的是CN2 GIA(AS4809)线路,晚高峰时段也能保持稳定,延迟和丢包率都比较低,连接质量比较可靠。

移动去程走的是CMI(AS58453)线路,路径更直接,绕行少,延迟和丢包表现都比较平稳,连接质量可靠。

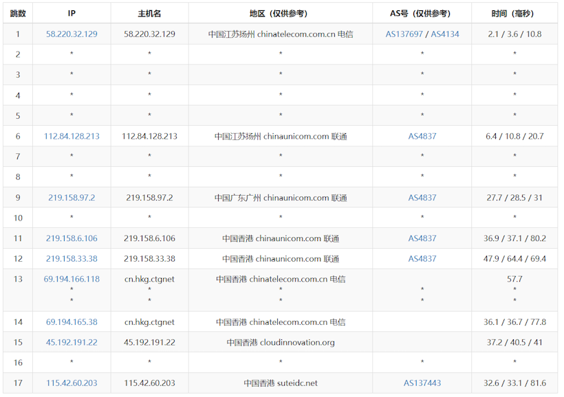
联通去程走的是CUG(AS10099)精品直连链路,流量由联通国内骨干网(AS4837)直接下发,路径优化较好,能避开部分国际出口拥堵;在晚高峰时段仍能维持较低的延迟和稳定的丢包表现,适合对网络稳定性有一定要求的业务场景,整体连接质量在联通体系内属于较为可靠的一档。

流媒体兼容支持情况,可以看到常规的流媒体是支持的,TK不支持。

回程三网线路测试。
总结一下,从线路和速度看,确实有正如官方说的走的优化线路。适合一般的需要且便宜的香港VPS,但是具体的业务使用还需要看具体兼容。如果我们需要体验也可以月付后体验,毕竟价格在那边,实际是否适合我们的业务需要实测。从线路和简单的PING测试性价比还不错。
投上你的一票

康维主机测评-网站SEO优化

