VMRack 作为新晋主机商在目前新推出的洛杉矶机房中,有三个网络可选,其中最为有竞争力的还是洛杉矶三网精品网络。拥有电信CN2 GIA、联通9929和移动CMIN2。在这篇文章中,老左就针对这个机器测试。
目前的春季活动也可以看到当前有多款年付方案,其中CN2 GIA也有年付套餐低至35美元。
| 型号 | CPU | 内存 | 存储 | 流量 | 带宽 | 年付 | 链接 |
| L3.VPS.1C1G.Base | 1vCPU | 1GB | 20GB | 600GB/月 | 500M | $35 | 购买 |
| L3.VPS.1C2G.Base | 1vCPU | 2GB | 20GB | 1000GB/月 | 500M | $49 | 购买 |
| L3.VPS.2C4G.Base | 2vCPU | 4GB | 60GB | 2000GB/月 | 500M | $99 | 购买 |
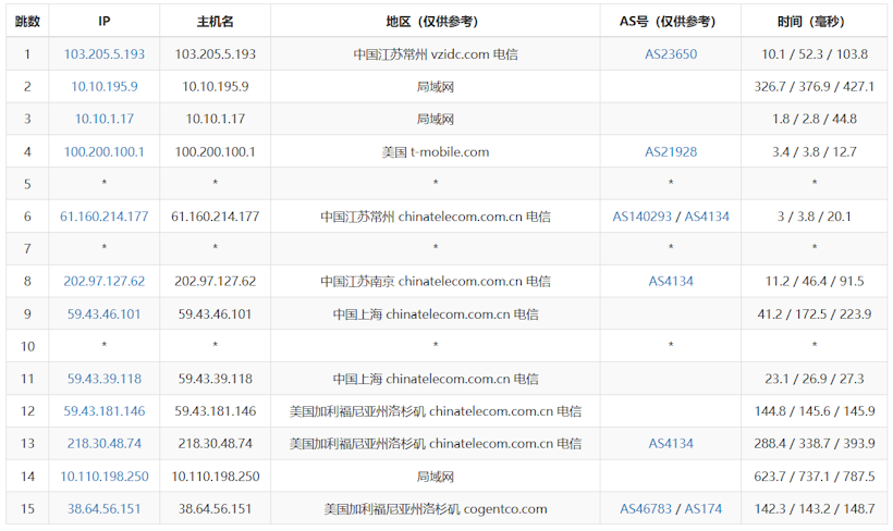
这里我们分别从线路和速度测试看看。

电信节点的去程可以看到走的是59.43精品节点。

这是联通网络去程走的是AS9929。

这是移动去程。

这是三网的回程测试。

在VMRack这款洛杉矶精品网络VPS方案中,IP段的健康度检测。

对于如今我们选择VPS较多的还是用到自媒体和流媒体业务的,社群平台的支持和AI兼容支持是必须考虑的,这里看到这个IP兼容流媒体还是非常优秀的。
投上你的一票

康维主机测评-网站SEO优化








