我们做搜索竞价推广的都知道,每个关键词都是通过点击我们的广告进入到网站最后完成转化的,而每个关键词背后的都有对应的ip数据作为来源被我们统计。

因为搜索引擎推广主要还是点击付费的模式,因此也出现了很多恶意点击和无限刷关键词的情况,也就是平时大家经常提及的恶点和刷词。那这里我们就分开几个知识点跟大家分享一下,如何从关键词和搜索词数据分析,到ip数据分析,来预防恶意点击和检查处理异常ip的。
一、分析搜索词行为
首先从搜索词出发,判断其结构(例如动词与名词的搭配)和意图,是否符合网民的搜索习惯, 在搜索引擎输入搜索一下,查看其下拉词是否为热门搜索词,一般下拉词也会有因为刷词而被送上热搜的,再进一步判断网民需求;再针对搜索结果出来的页面sem广告位进行分析:
① 若判断其搜索词不符合我们行业和网民需求,则可以进行否词处理,避免一直被刷;若该搜索词在搜索出来的页面中没有广告位,也考虑否词,因为在此情况还能被点击,更是说明了用软件刷关键词,属于恶意刷词行为。
② 若判断其搜索词符合我们的需求,sem排名偏上,此时则降低出价,减少被点击的可能性。

二、判断与执行
1. 怎样的标准属于刷词?
例如:关键词半小时内被点击多次(8-10次不等),这样就要判断是否有刷词的情况,如果是,开始否词工作。如果不是,保持监控。随着对各自行业的深入了解,很多词一看就知道是不是在刷词。所以提前预判是十分重要的。
2. 确定刷词的来源
搜索词是否是计划中的关键词
非账户中的词又不影响关键词的正常投放的情况下直接精否处理;
3. 当搜索词同时是计划中的关键词的情况
先确定点击来源,再找到对应关键词降价处理或者修改匹配方式;
4. 判断搜索词是否会匹配到账户中其他关键词
如果能匹配到,那么仅仅降价无法解决的,为了不影响别的关键词正常投放,直接删除计划中的关键词,并在其他正常计划添加精确否定,把被刷的关键词低价放到单独的一个计划或单元里面进行单独优化监控。
5.关键词放在单独的词计划或单元内就不代表不管了
还要观察单元内的关键词的匹配方式是否设置正确,如果单独优化的单元内关键词词性相近,这样还是会形成单元内继续互相刷词。需要把同类型的词调整为精确匹配放低价,这样才叫处理完刷词的防控工作。
三、对异常关键词回调的注意事项
1.对于刷词,
一般情况下,当刷词在某个单独的计划或单元积累的数量较多,就要对这些关键词进行分组处理了,一般是单独计划,分多个单元,单独对同类词划分后优化。
2. 关于被刷的关键词
经过一段时间之后,可以考虑重新回调,回调的时候注意,每次尝试选几个关键词进行小幅度提升测试。
3. 当回调后关键词没问题
也要分两步走,第一步是回调到展现排名和点击都正常后,再观察一段时间再考虑放回原来的计划单元内。放回去的关键词一定要做好关键词颜色标签的设置,方便后面检查和分析。第二步,如果尝试回调的关键词依然有问题,则设置回低价,更换其他关键词回调测试。
4. 放回原来计划的词
要注意所在单元或计划是否存在对该词的否词。要么把词改成精确匹配,要么把否词清理掉再放回原计划和单元。
四、数据收集,分析ip数据
1.多数情况下,都是使用百度统计作为数据监控的工具。
我们一般对固定的时间段内(例如7.15.30天)的ip数据透析求和后进行分析

上述截图即为ip数据优化的表头内容,可以根据实际情况进行调整。但是绝对不能缺少的几个主要数据源是:时间,地域,关键词,搜索词,访问ip,访问标识码。同时这个表格也作为源数据表格(历史数据表格)。
2.对ip数据进行监控与分析

表格制作完毕后,通过函数公式排序ip的数据,可以找到一段时间内这些ip的集合,进而观察ip数据的情况,有疑问的可以标记颜色作为重点检查的内容。
一般认为:ip段数据接近或基本完全一致,且数据量大或访问量大,初步判断为异常流量,需要标记进行下一步的监控。筛选出初步判断为异常的ip,再放到源数据进行排查,逐一检查问题。
五、分析搜索词数据
① 判断异常的流量,需要把数据先放回源数据表(或定期的一段时间数据)内,再进行综合判断与调整。不同(但类似)的ip或ip段,搜索词相同或类似,且来访时间接近,来访地域相同,可初步判断为异常,再配合其他数据判断。
注:ip是代表人的行为,是可以进行多关键词搜索的,也就是说,一个ip背后可能面对的是多个关键词,ip段代表的就是更多的流量了。所以屏蔽ip之前一定要做到综合的,多维度的数据判断,才能执行。

②(以招商加盟为例)上述的搜索词对应的ip类似或者相同,可判断为一个或多个ip刷词,属异常流量。但是一切还没有确定之前,还需要做几个数据的统筹分析才能下结论。千万不要说,宁可杀错,不可放过,往往ip屏蔽与监控是一把双刃剑。屏蔽过多,会流失更多有用的流量。
所以接下来,我们还需要做多一步操作。

上图的源数据看到,搜索词基本清一色是来自于几个词,这种情况下,可以跳过ip分析,直接对关键词进行否定即可。同时要关注的是,这些关键词是否为账户内关键词,如果是,考虑单独做优化与监控,保证这些流量不会影响其他单元和计划。
如果关键词不一样,则观察ip的数据,排列出点击最高的前几个,看对应的搜索词。若搜索词求和后的数据量很大且来访时间很接近,则建议在账户内精确否词。因为ip可以代表多个关键词,在不能完全确定异常ip之前,能否词先否词。

③ 屏蔽标识码:标识码可以理解为一个设备,一般来说,一台电脑可以变化多个ip,标识码是相对唯一的,必要时屏蔽标识码来防止异常流量。

④ 竞价人员对于账户优化操作记录表的重要作用,在这里同样适用。在否词后对相关ip建议用表格记录下来,过几天后看这些ip是否继续进入以及进入的时间,地域和数量,最后判断是否屏蔽ip操作。
六、分析地域数据

① 对时间段内(7.15.30天)的所有地域数据透析求和后进行分析,可以得到地域的来源数据,地域的数据可能跟百度后台的数据有一定的误差,毕竟百度统计的准确性本身就有不稳定性,也跟安装代码和网站的问题有关,所以不能作为参考的唯一标准。

② 上图所示,假如发现异常的地域数据进行ip和搜索词检查,参考上述两个知识点的操作步骤进行检查。很多时候对于一些成熟的竞价员,一看地域数据就知道是否流量正常了。
③ 如果正常,计算出各个地域的占比,再下载百度后台的地域消费报告进行分析其合理性。可能出现一定误差,只要在合理的比例范围内即可。
④ 若发现 地域ip异常,应该透析后筛选数据最多的ip,对这部分ip进行定位测试,找到ip所在地,看是否为同行所在地,进行屏蔽,ip定位器网上有很多,大家可以去寻找一下。
⑤ 最后对比销售咨询成交数据的地域比例,对地域投放的调整与优化,提升地域系数或强化带地域的创意。
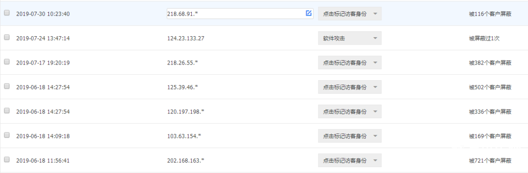
七、定期检查后解除屏蔽ip操作
屏蔽ip不是说就一劳永逸,反而是监控的开始,对精准流量的负责到底。当完成ip屏蔽,并且做了自己的统计表格,把有问题的ip全部收集起来,在经过一段时间后,就必须定期回头检查屏蔽ip了。
客观上首先要面临的问题是手动ip屏蔽数量就200个。主观上,不能对屏蔽了的ip不问不顾,很多时候竞价人员对屏蔽ip不重视,一言不合就屏蔽,导致后面账户流量和质量都下降了还找不到原因。所以,定期回头检查屏蔽的ip是很有必要。毕竟你屏蔽的时候,还不能代表真的有问题,是我们通过数据分析加上主观判断操作的,需要通过系统在整个环境中,对你的操作进行“检验”。

举例看上图,找到很多在较长时间以前屏蔽的ip数据,可以清晰看到。Ip段也好,精准的ip也好,最后一列说明了很多问题,毕竟系统通过在整个推广环境当中积累下来的数据,可以明确告诉你,你当时的屏蔽工作是否正确。
正如上图所示,最后一列,都说明了这个ip数据被多少客户屏蔽了。就说明是一种异常的流量,被更多的人发现并屏蔽了。而另外一种,是我们自身屏蔽,其他客户没有发现问题的,或者是我们曾经屏蔽过,但是后来解除了,又再次屏蔽等相关的操作,系统也做了记录,次数越多也证明ip有问题。通过这些数据,可以对我们的判断有很强的指导作用。
在这再次强调,异常ip的明细数据,最好做成表格记录好,当后面需要检查的时候,可以通过表格进行逆向推理,印证判断。
现在ip已经从4升级到6的时代了。网上有很多相关的ip4直接一键转化成ip6的工具,这里就不做阐述了。网络还没升级成ip6的可以通过判断和分析之后,通过工具转化ip6再手动添加到后台。
八、小 结
1. 能否关键词优先分析搜索词后进行否关键词,Ip的屏蔽要谨慎,对流量的影响远大于否定关键词。
2. 屏蔽ip的判断要多维度,综合性要全面判断才能进行手动屏蔽。
3. 屏蔽ip后经过一段时间要回头检验,通过数据建立检查解除屏蔽的标准。
4. 养成建立表格数据监控与分析的习惯,做到商盾数据与表格数据同步执行。

康维主机测评-网站SEO优化








