华纳云算是比较老牌的云服务商家,有我们熟悉的香港云服务器和美国云服务器,包括也有高防服务器。同时对于东南亚的外贸业务,商家也有提供用户需求的新加坡云服务器产品。新加坡云服务器位于新加坡SG1数据中心,接入新加坡电信SingTel,电讯盈科PCCW,中国电信CN2,联通,移动等优质线路,双向CN2 精品带宽,企业出海东南亚国家首选。

华纳云新加坡云服务器配置:
| 处理器 | 内存 | 硬盘 | 带宽 | IP | 流量 | 价格 | 购买 |
| 1 | 1G | 50G SSD | 2M | 1 | 不限 | 504元/年 | 直达链接 |
| 2 | 2G | 50G SSD | 2M | 1 | 不限 | 792元/年 | 直达链接 |
| 2 | 4G | 50G SSD | 2M | 1 | 不限 | 1080元/年 | 直达链接 |
| 4 | 8G | 50G SSD | 5M | 1 | 不限 | 2376元/年 | 直达链接 |
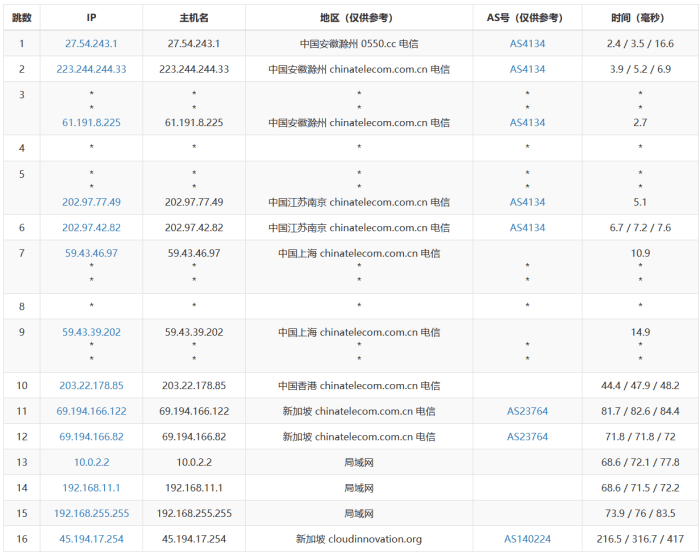
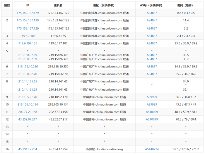
新加坡测试IP:45.194.17.254
我们看看新加坡云服务器测试IP性能和速度。
我们随机全球PING节点测试看看。

我们可以看看新加坡机房IP在亚洲节点速度稳定性还是可以的。然后我们看看三网去程测速,对于我们国内用户选择速度还是有参考意义的。
电信去程:

我们可以看电信去程还是走的59.43精品网络。
移动去程:

联通去程:

总结,如果我们有需要新加坡云服务器的,可以选择看看华纳云新加坡云服务器,可以月付方案试试。华纳云新加坡云服务器优化中国大陆方向的线路,并配备超10G 精品带宽,不限制流量,平均延迟低至50ms,速度更快,稳定性更强。
投上你的一票

康维主机测评-网站SEO优化








