最近华纳正式上线新加坡系列服务器,位于新加坡SG1机房,拥有丰富网络资源,超10G丰富带宽,CN2 GIA三网直连带宽,自研防火墙,自研顶级配置DDoS防御系统,T级防御峰值,毫秒级延迟。新产品上线,华纳云为新加坡系列服务器推出超优惠价格,新加坡服务器/高防服务器低至五折(续费同价),新加坡云服务器低至4折!
华纳云怎么样?华纳云,创立于2015年,隶属于香港联合通讯国际有限公司,持有ICP/IDC/ISP/CDN等证书。拥有自己网络IP地址和ASN,香港美国新加坡等全球多地数据中心资源,提供智能切换线路,BGP国际多线网络、CN2、联通、移动点对点直连带宽,配置自研顶级防火墙,支持TB级别大带宽防护,机房单IP防护高达 T级,支持1Gbps不限流,保障用户网络在线率高达99.98%。

华纳云官网:https://www.hncloud.com/
华纳云新用户首次可领4120+新人红包,下单可抵扣!
付款方式:支付宝,PayPal ,银行在线转账,银行线下转账。
服务:24h工单,24h机房值守,免费在线咨询/压力测试,支持定制设备
华纳云新加坡服务器测试IP: 45.194.16.254
华纳云新加坡高防服务器测试IP: 45.194.18.254
华纳云新加坡云服务器测试IP: 45.194.17.254
一、新加坡服务器:
CN2精品三网直连,超10G精品带宽。免备案低延迟,确保中国大陆、中国香港、中国台湾、日韩、东南亚各国的用户访问体验。购买地址:https://www.hncloud.com/sg_hd_server.html
| 地域 | 处理器 | 内存 | 硬盘 | 带宽 | 带宽类型 | IP | 活动价 | 地址 |
| SG01 | E5-2660 | 16G DDR3 | 500G SSD | 10M | CN2 GIA | 3个 | 1300元/月 | 点击直达 |
| SG02 | E5-2660 | 32G DDR3 | 500G SSD | 10M | CN2 GIA | 3个 | 1400元/月 | 点击直达 |
二、新加坡高防服务器:
华纳云基于自研防火墙,在新加坡机房部署了顶级DDoS防御系统,可实现T级防御峰值,确保用户网络安全,支持压力测试。购买地址:https://www.hncloud.com/sg_hd_server.html
| 地域 | 处理器 | 内存 | 硬盘 | 带宽 | 带宽类型 | IP | 活动价 | 活动价 | 地址 |
| SG01 | E5-2660 | 16G DDR3 | 500G SSD | 10M | CN2 GIA | 1管理IP + 2防御IP | 1300元/月 | 1300元/月 | 点击直达 |
| SG02 | E5-2660 | 32G DDR3 | 500G SSD | 10M | CN2 GIA | 1管理IP + 2防御IP | 5000元/月 | 5000元/月 | 点击直达 |
三、新加坡云服务器:
双向CN2 精品带宽,企业出海东南亚国家优选。接入新加坡电信SingTel,电讯盈科PCCW,中国电信,移动,联通等高级网络专线。购买地址:https://www.hncloud.com/sg_ecs.html
| CPU | 带宽 | 系统盘 | 原价/年 | 秒杀价/年 | 购买 |
| 1核1G | 2M | 50G | 1260 | 504(约42元/月) | 直达购买 |
| 2核4G | 2M | 50G | 2700 | 1080(约90元/月) | 直达购买 |
| 4核4G | 5M | 50G | 4500 | 1800(约150元/月) | 直达购买 |
| 4核8G | 5M | 50G | 5940 | 2376(约198元/月) | 直达购买 |
下面分享华纳云新加坡服务器测评:
先一起看本地Ping的延迟效果,如下所示:

Ping延迟在101ms左右,网络是相当稳定的,没有丢包的情况。
然后我们看看全国三网Ping的延迟效果,如下所示:

全国三网Ping延迟在90ms左右,其中移动网络延迟是最低的在74ms左右,其次是电信网络延迟在81ms左右,最后是联通网络延迟在86ms左右。整体来说三网延迟都比较令人满意的,很少有新加坡服务器能够达到这个延迟效果的。
接下来我们看看这款新加坡服务器去程、回程路由情况怎么样。
电信去程路由:

可以看到电信去程路由是经过香港节点后直连新加坡机房,并且走的是59.43的CN2线路。
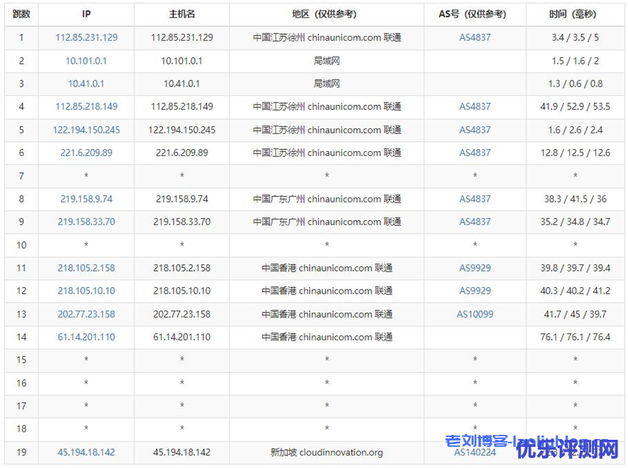
联通去程路由:

联通去程路由也是经过香港节点后直连新加坡机房,并且走的是AS4837线路,然后转AS9929线路。
移动去程路由:

移动去程路由则似乎更好一些,直接从内地直连新加坡机房。这种线路确实是非常难得的。
接下来我们将看看三网的回程路由情况。
电信网络回程路由:

可以看到电信回程经过香港节点,并且回程也是走了59.43的CN2线路。
联通网络回程路由:

联通网络回程路由经过香港节点,然后直连内地。
移动网络回程路由:

移动网络回程则直连的,中间并没有经过任何节点,所以移动网络延迟才会是最低的。
接下来我们看看服务器的性能和下载速度怎么样,如下所示:

可以看到磁盘I/O在215MB/秒左右,这个性能还是不错的,只有SSD固态才能达到这样的水平。全球各地上传速度都跑满了10Mbps,下载速度跑满20Mbps。从结果来看华纳云这款新加坡服务器性价比还是相当不错的,提供了3个IP、无限流量,比同行业中很多家新加坡服务器都要划算。

康维主机测评-网站SEO优化








