Vultr商家我们肯定是比较熟悉的,有些朋友肯定不止一次的薅他们家的羊毛。Vultr商家的特点在于拥有十几个数据中心,到目前为止已经增加到17个数据中心,且支持任意的删除和开通机器,采用小时计费模式,这对于有些很多网友短期、测试项目或者需要更多IP地址的用户来说确实是难得的商家。这也是很多网友喜欢Linode、Vultr、DO等商家的原因。
虽然在速度上,Vultr商家已经没有早年的直连速度机房,但是并不影响大家对于便宜、稳定,以及可以随意的切换机房,当然更有商家吸引新用户有赠送100美元(目前是这个活动)活动。今天老左需要和大家分享的是Vultr商家前几天有新增韩国SK机房,且目前已经可以开通机器。

这里我们可以看到有新增韩国SK机房,可选,且最低1GB内存方案月费用五美元,当然如果开通后不使用删除即可,会以使用多少时间计费的。对于如何开通VULTR账户和开通服务器,这里老左就不详细介绍,以前我们也有VULTR相关文章。
如果我们还是新用户,可以参加现在还在进行的优惠活动,新用户注册赠送100美元。【活动地址】具体可以参考这篇文章。这里我们也不累赘的介绍,我们开一台韩国SK机房的机器看看速度和性能如何,尤其是线路。

看到PING速度居然还非常不错,我们有空也可以看看(141.164.34.61)这是官方提供的测试IP地址。难道真的很厉害?我们再看看线路。

然后在随机找个联通看看。

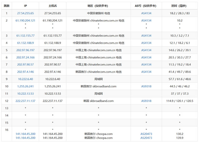
我们可以看到三网电信、联通、移动三网的去程路由都是韩国 SK 线路直连,还是不错,但是主要还是要看回程。

从回程我们可以看到,电信、移动、联通、教育网均是绕路日本 NTT线路。也不能说这样线路不能用,白天速度其实还是蛮好的,我看有些人用LiNODE日本NTT线路建站,白天速度也蛮好。

以上是随机节点的下载和上传测速。
总结,以上是老左对于VULTR新增加的第十七个机房韩国SK机房的简单体验,去程直连韩国SK,回程是日本NTT,如果有需要的可以体验看看,当然新用户新注册也是有赠送余额的,不过有效期是三十天。
投上你的一票

康维主机测评-网站SEO优化

