Dataplugs,一家香港主机商,主要提供香港服务器、虚拟主机、服务器托管,以及域名等周边云产品服务器的商家。商家产品主要以香港数据中心为主,经常看到有提供香港服务器等产品,主要面向的用户群对于带宽和线路要求较高的,有双向CN2线路、1Gbps大带宽的,当然价位上肯定是比一般的云主机商贵一些的。
一直以来老左也没有真实入手一台他们家的服务器进行测评,主要独立服务器和普通云主机不同,一般的商家可能月费几美元,甚至也有十几美元的,我可能就自己咬咬牙购买一台看看然后做一个真实的评测,如果是需要成本较高的话,我还是没有测试。
在这篇文章中,我申请到Dataplugs商家香港服务器一台测试服务器,就准备第一次对于Dataplugs商家香港服务器进行测试记录看看,算是对于这个商家深入的了解。毕竟对于Dataplugs商家品牌的认知有一段时间,但是产品还是第一次使用。
第一、商家官方网站和产品

这里我们可以看到Dataplugs商家有CN2双线服务器、1Gbps大带宽服务器等,面对的用户群比较高端,普通云主机用户估计预算还是有限的。
第二、Dataplugs 香港服务器评测记录
这里我提交资料后申请到一台几天的测试机,准备记录下这个商家的产品。如果我们有需要,官方网站也有申请入口提交资料申请即可。
XPower16Pro
– 2 x 英特尔至强白银级 4110
– 16核 / 32线程
– 32GB 内存
– 2 x 240GB SSD (RAID 1)
– 5Mbps 中国直线带宽
1、PING速度测试

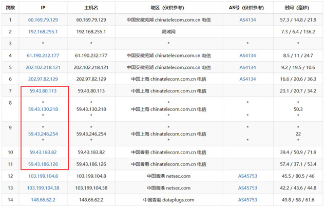
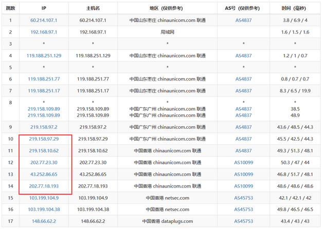
2、路由去程测试

然后再随机看下移动和联通的。

3、基本配置信息

4、IO读写能力

读写能力不错,采用SSD固态硬盘。
5、随机下载测速

总之,通过简单的评测Dataplugs商家,我们可以看到商家专注香港服务器产品的,也有虚拟主机和其他托管服务。对于香港服务器、大带宽服务器需求的用户来说可能会多一个选择商家。
投上你的一票

康维主机测评-网站SEO优化

