在上周的时候,80VPS主机商有新增韩国LG机房,不过我们在商家后台可以看到以前有十几二十个机房的如今也在减少,应该是和大部分国内商家一样取消一些非常用的机房,毕竟如今早年做外贸网站的都陆续转型,可以说当初的仿牌类网站比较严格。这样商家精简机房,然后看到大部分国内商家都是增加和优化亚洲机房,毕竟速度是大家考虑的。
当时老左也有开通一台80VPS主机新增加的韩国VPS主机方案。搁置在那边也有几天时间,在今天准备简单的记录下这个商家的一些数据和性能情况,但是需要说的是目前大部分国内商家管理也是比较严格的,我们一定要正规使用。PS:参考80VPS主机韩国机房的配置情况
第一、韩国LG VPS PING速度测试

可以看到速度还是可以的。移动速度稍微差一些。
第二、韩国LG VPS 路由回程测试
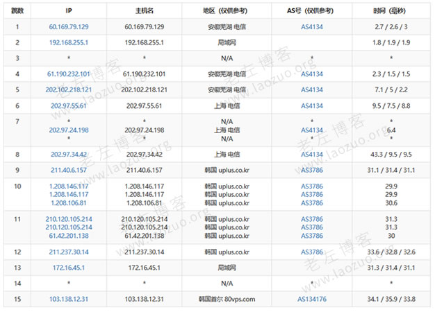
1、电信回程路由

2、移动路由回程

我们可以看到移动速度不好的原因。
第三、配置信息及IO读写能力

这个配置中我们看到IO读写能力有点差了。
第四、随机下载节点测速

第五、BT跑分能力测试

由于IO能力稍微差一些,在安装宝塔面板的时候相比速度还是比较慢的。返回官方后台看看配置,写的是SSD固态硬盘,是不是搞错了?
以上是老左对前几天80VPS主机商韩国LG机房特价方案的测试,IO能力一般,普通使用可以,如果是要求较高的,我们可以看看其他方案或者其他商家。
投上你的一票

康维主机测评-网站SEO优化








