休息了一个长假之后,各个主机商、域名商应该是有准备筹划第四季度几个热门的活动。我们不难看出,国内的部分主流商家开始慢慢尝试套路让用户选择他们,毕竟在每年的第四季度是用户新购买或者是更换产品的时机,都希望通过各种促销活动选择他们的产品。
老左在前面也有介绍到阿里云”阿里云全民云计算拼团活动 云服务器低至1年234元或者3年527元“针对未享受全民云计算活动可以享受一台特价云服务器,以及腾讯云”腾讯云新用户云服务器代金券及最新优惠活动“也是针对新注册用户领取代金券以及AMD CPU的云服务器促销。但是腾讯云最近大半年的活动都没有香港或者其他海外机房。

这次腾讯云有发布专属的海外云服务器活动专场,包括香港、美国硅谷、德国、曼谷等,但是相比我们熟悉的海外服务商其实更能吸引我们的是香港机房,用来做入门网站还是够用的,其他亚洲机房包括新加坡机房也是绕线路的并非直连,且美国等海外机房带宽也是1Mbps起步,没有多少优势。
第一、活动地址和配置
这次活动有吸引力的就是香港机房,其他海外机房带宽太小还不如我们选择其他专属的海外VPS。
- CPU:1核心
- 内存:1GB
- 硬盘:50GB
- 流量:不限制
- 端口:1Mbps
- IP数:1IP
- 系统:Linux/Windows
- 价格:699元/2年(购买)
- CPU:1核心
- 内存:2GB
- 硬盘:50GB
- 流量:不限制
- 端口:1Mbps
- IP数:1IP
- 系统:Linux/Windows
- 价格:1199元/2年(购买)
香港机房两年方案价格最低可以优惠至3.1折,两年仅需要699元,对于熟悉且需要用来个人网站的可以选择,1Mbps带宽合理利用也是够的。如果不熟悉的不一定需要购买这么长时间。
第二、腾讯云香港机房评测
1、PING速度测试

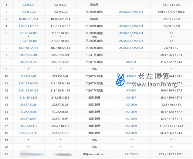
2、路由回程测试

3、配置信息
CPU Model : Intel(R) Xeon(R) CPU E5-26xx v3 CPU Cores : 1 Cores @ 2394.452 MHz x86_64 CPU Cache : 4096 KB OS : CentOS 6.8 (64 Bit) KVM Kernel : 2.6.32-642.6.2.el6.x86_64 Total Space : 50.0 GB (5.1 GB Used) Total RAM : 996 MB (673 MB Used 159 MB Buff) Total SWAP : 1023 MB (0 MB Used) Uptime : 163 days 20 hour 21 min Load average : 0.05, 0.01, 0.00 ASN & ISP : AS132203, Tencent cloud computing Organization : Tencent Building, Kejizhongyi Avenue Location : Hong Kong, China / HK Region : Hong Kong
4、IO硬盘读写测试
I/O Speed( 1.0GB ) : 46.1 MB/s I/O Speed( 1.0GB ) : 38.3 MB/s I/O Speed( 1.0GB ) : 85.3 MB/s Average I/O Speed : 56.6 MB/s
5、海外节点下载测试
Node Name Upload Speed Download Speed Latency Speedtest.net 1.13 Mbit/s 28.08 Mbit/s 41.348 ms Fast.com 0.00 Mbit/s 29.3 Mbit/s 0.000 ms Shanghai CT 1.31 Mbit/s 28.08 Mbit/s 109.398 ms Hangzhou CT 1.28 Mbit/s 26.95 Mbit/s 260.783 ms Xi'an CU 1.06 Mbit/s 27.83 Mbit/s 198.599 ms Xi'an CM 1.05 Mbit/s 28.75 Mbit/s 81.268 ms Chengdu CM 0.97 Mbit/s 17.52 Mbit/s 78.134 ms Kunming CM 0.76 Mbit/s 28.87 Mbit/s 43.597 ms Guangzhou CM 1.01 Mbit/s 43.87 Mbit/s 15.758 ms
投上你的一票

康维主机测评-网站SEO优化








