DiyVM,一家国内的主机提供商,有提供香港、美国VPS主机、服务器等产品和服务。老左在博客中也曾经分享过他们的香港沙田CN2线路的VPS主机评测(DIYVM香港沙田CN2 VPS主机性能、速度和稳定性评测记录),这次看到官方针对香港沙田CN2线路有促销活动,所以把相关的促销方案分享一二。
DiyVM提供的VPS主机产品全部采用Xen架构,而且可以根据实际的配置需求云调整配置结构,目前1GB内存方案配置最低月付是50元(国内商家香港沙田VPS主机竞争真大)。
第一、DiyVM香港沙田CN2线路方案
- CPU:2核心CPU
- 内存:1024MB
- 硬盘:40GB
- 流量:不限制
- 端口:2Mbps
- 架构:Xen
- 系统:Windows/Linux
- IP数:1独立IP
- 价格:50元/月(购买)
- CPU:3核心CPU
- 内存:2048MB
- 硬盘:50GB
- 流量:不限制
- 端口:2Mbps
- 架构:Xen
- 系统:Windows/Linux
- IP数:1独立IP
- 价格:69元/月(购买)
如果我们选择的是2GB内存配置方案,可以使用JAN优惠码;如果选择4GB、8GB方案配置,可以使用off50享受优惠。
第二、DiyVM香港沙田CN2 IP
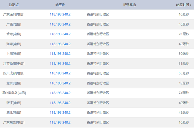
香港沙田CN2:118.193.240.2
第三、DiyVM香港沙田CN2 Ping速度

第四、DiyVM香港沙田CN2 路由追踪

总结,老左之前测试过一段时间还算稳定,如果有用过DIYVM他们家机器的用户可以留言反馈,比如他们的服务或者产品性能。
投上你的一票

康维主机测评-网站SEO优化








