LocVPS,一家国人VPS主机提供商,旗下有不少的其他主机品牌,比如维翔主机、HostXen也是同一个老板的主机品牌,其产品大同小异,在一定程度上可以通过不同的品牌包装较大几率的覆盖用户市场。LocVPS平台中采用Xen架构的VPS主机产品,有香港沙田、香港PN、美国MC、美国Peer1等机房的VPS主机。
目前,LocVPS提供香港沙田CN2线路配置有所升级,提供5折优惠码,带宽从原来的2Mbps升级至3Mbps,1GB内存配置VPS主机月费低至67.5元。
第一、LocVPS基本配置方案
- CPU:2核心
- 内存:1024MB
- 硬盘:30GB
- 流量:不限制
- 带宽:3Mbps
- 架构:Xen
- IP数:1独立IP
- 系统:Linux/Windows
- 价格:67.50元/月(购买)
- CPU:4核心
- 内存:2048MB
- 硬盘:60GB
- 流量:不限制
- 带宽:3Mbps
- 架构:Xen
- IP数:1独立IP
- 系统:Linux/Windows
- 价格:135元/月(购买)
这次LOCVPS提供香港沙田CN2机房活动使用50off优惠码全场半价优惠,续约费用也是一样的折扣。
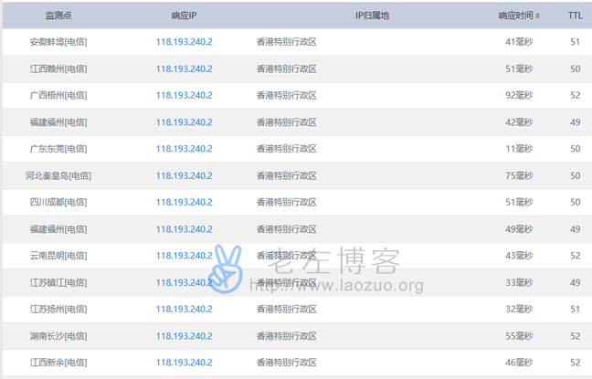
第二、测试IP地址
香港CN2 IP:118.193.240.2
第三、Ping速度测试

第四、路由追踪测试

总结,香港机房VPS主机一般都是小水管,如果我们需要大流量且高速下载的基本可能无法满足需要,对于普通建站需要的还是可以考虑的。
投上你的一票

康维主机测评-网站SEO优化








